Redukční zdířka 32-20mm WTE
Redukční zdířka 32-20mm WTE
Redukční pouzdro Provedení: Kovové těsnění - nepropouští chladivo. Tlak chladiva do max. 80 bar. S drážkou pro flexibilní nastavení na p ... viac informácií
| Výrobca | EDE |
|---|---|
| Kód produktu | 7434430641 |
| EAN kód | 4330816865651 |
Potrebujete poradiť?
Po - Pia : 08:00 - 17:00
032 7445274-5
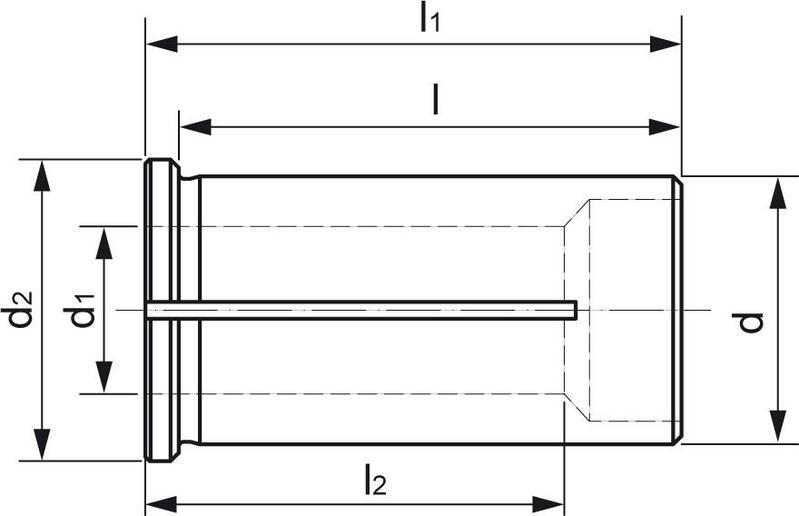
| d | 32 mm |
| d1 | 20 mm |
| l | 64 mm |
| l1 | 60 mm |
| l2 | 49 mm |
| WGNr. | W327 |
Redukční pouzdro Provedení: Kovové těsnění - nepropouští chladivo. Tlak chladiva do max. 80 bar. S drážkou pro flexibilní nastavení na požadovaný průměr. Použití: Ke snížení upínacího průměru u hydraulického rozpínacího hydro upínače a HPH hydro upínače WTE.
Otázka k tovaru: Redukční zdířka 32-20mm WTE